一、HG5-89-2下展式放料閥產品概述
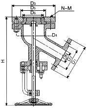
放料閥根據實際情況的需要,放底結構設計為平底型,閥體為V型,并提供提升和下降兩種工作方式閥瓣。手輪順轉,閥門關閉,閥桿向下轉動,此為下展式放料閥。
放料閥閥體內腔裝有耐沖刷、耐腐蝕的密封圈,在開啟閥門瞬間,可以保護閥體不被介質沖刷、腐蝕,并對密封圈進行特種處理,使表面硬度達到HRC56-62,具有高耐磨、耐腐蝕的功能。放料閥閥瓣密封根據需要密封面均堆焊有硬質合金,密封副采用線密封,保證密封的可靠性,并可防止結疤。同時,采取短行程閥瓣的設計。
二、HG5-89-2下展式放料閥主要零部件材料表
|
零件名稱 |
材料名稱 |
||||
|
閥體 |
ZG1Cr18Ni9Ti |
ZG00Cr18Ni10 |
ZG1Cr18Ni12MO2Ti |
ZG00Cr17Ni14MO2 |
WCB |
|
閥蓋 |
ZG1Cr18Ni9Ti |
ZG00Cr18Ni10 |
ZG1Cr18Ni12MO2Ti |
ZG00Cr17Ni14MO2 |
WCB |
|
閥桿 |
ZG1Cr18Ni9Ti |
ZG00Cr18Ni10 |
ZG1Cr18Ni12MO2Ti |
ZG00Cr17Ni14MO2 |
WCB |
|
閥瓣 |
ZG1Cr18Ni9Ti |
ZG00Cr18Ni10 |
ZG1Cr18Ni12MO2Ti |
ZG00Cr17Ni14MO2 |
WCB |
|
墊片 |
304+PTFE |
304L+PTFE |
316+PTFE |
316L+PTFE |
石墨+304 |
|
螺柱 |
1Cr17Ni2 |
1Cr17Ni2 |
1Cr17Ni2 |
1Cr17Ni2 |
35CrMoA |
|
螺母 |
1Cr18Ni9Ti |
1Cr18Ni9Ti |
1Cr18Ni9Ti |
1Cr18Ni9Ti |
45 |
三、HG5-89-2下展式放料閥主要執行標準表
|
結構長度標準 |
GB/T 12221-2005 |
|
連接法蘭標準 |
GB/T 9113 |
|
壓力溫度等級 |
GB/T 12224-2005 |
|
試驗檢驗標準 |
GB/T 13927-2008 |
四、HG5-89-2下展式放料閥主要結構圖

尊敬的用戶!如果你需訂購我廠放料閥產品,咨詢時煩請說明類型,放料閥有上展式放料閥和下展式放料閥兩種形式,公稱通徑、公稱壓力、閥體材質等,咨詢手機:15158748774,更多放料閥相關產品介紹請瀏覽:http://www.guolvqic.com/。


